Перейти к содержимому

Les lignes de traitement sous vide

La ligne de traitement sous vide est conçue pour l'application d'une large gamme de revêtements (décoratifs de protection, de durcissement, optiques) grâce à des méthodes combinées en mode automatique.
La ligne dispose de caractéristiques particulières que sont:

 - La présence d’un module de prétraitement de la source d'ions permettant de créer des revêtements avec des propriétés physiques et mécaniques élevées ;
- L'absence de nécessité d’un chargement fréquent des produits dans la chambre de traitement qui réduit de manière significative la présence d'impuretés et améliore la formation de revêtements uniformes. Cela assure également une augmentation significative de l'efficacité de l'installation;
- La capacité de contrôler l'épaisseur du revêtement en mode dépôt et l’affichage des caractéristiques spectrales sur un écran d'ordinateur.

Caractéristiques techniques des lignes de production de vide :

1. Nombre de chambres : de 3 à 7.
2. Taille des substrats :
largeur - 3000 mm
longueur - 4000 mm

3. Nombre de magnétrons : de 2 à 7.
4. Nombre de sources d'ions : de 1 à 3.
5. Temps de cycle : 60 secondes.
6. Puissance d’alimentation du magnétron : de 10 à 70 kW 


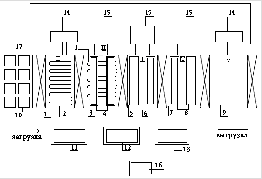
Légende:
1. Elément de chauffage-
2, 3, 5, 7, 9. Chambre
4. Source d'ions
6,8. Magnétrons
10. Produit
11, 12. Bloc d’alimentation
13. Bloc de contrôle
14. Système de vide primaire
15. Système à haute dépression
16. Système de gestion
17. Porte
I - V. Chambres

Réseau social

© Technology & Supply. All rights reserved. Powered by Websmart.